|
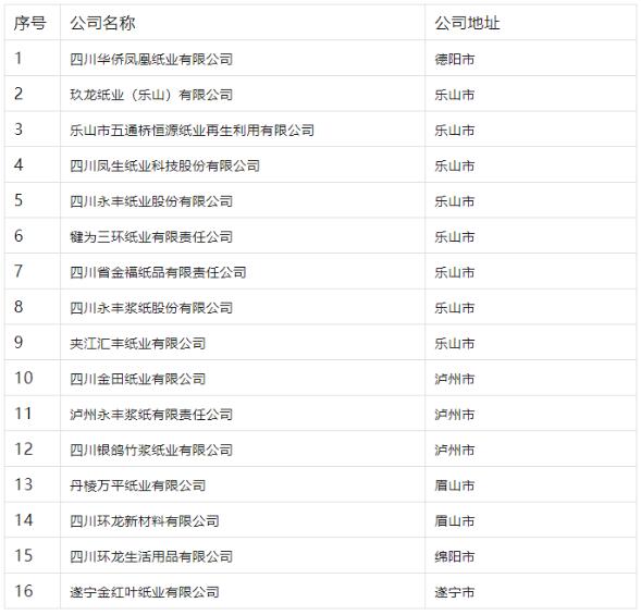
按照《生態環境部辦公廳關于做好2022年企業溫室氣體排放報告管理相關重點工作的通知》(環辦氣候函〔2022〕111號)要求,現將四川省納入全國碳排放權交易市場配額管理重點排放單位名錄(2021年度)公告如下。其中納入名錄的四川造紙企業有如下16家單位: 
以上公布的企業應于2022年9月30日前完成2021年度溫室氣體排放量核算、排放報告編制,并通過環境信息平臺報告溫室氣體排放情況、有關生產情況、相關支撐材料以及編制溫室氣體排放報告的技術服務機構信息等。 各行業企業溫室氣體排放核算方法與報告指南和補充數據表可在環境信息平臺下載。需要注意的是,在核算2021及2022年度碳排放量時,全國電網排放因子由0.6101tCO2/MWh調整為最新的0.5810tCO2/MWh。
|